Динамика полимерных цепей в процессах структурных и химических превращений макромолекул






ДИНАМИКА ПОЛИМЕРНЫХ ЦЕПЕЙ В ПРОЦЕССАХ СТРУКТУРНЫХ И ХИМИЧЕСКИХ ПРЕВРАЩЕНИЙ МАКРОМОЛЕКУЛ
Динамика полимерных цепей в растворе характеризуется совокупностью релаксационных процессов, связанных с движением (вращательным или поступательным) макромолекулы как целого или тех или иных участков полимерных цепей внутри макромолекул - боковых цепей, концов или срединных участков основной цепи. Движение коротких боковых цепей, несущих массивные группы, из-за стерических взаимодействий с основной цепью происходит при колебательном подстраивании основной цепи. Концы длинных боковых цепей, удаленные от основной полимерной цепи, могут участвовать во вращательных движениях независимо от основной цепи.
Внутримакромолекулярная подвижность, связанная тем или иным образом с движением основной цепи, представляет наибольший интерес при рассмотрении связи динамики макромолекул с их структурными превращениями.
Структурные превращения макромолекул происходят при образовании (разрыве) внутримакромолекулярных контактов, стабилизованных взаимодействиями различных типов — гидрофобными взаимодействиями неполярных групп в воде, водородными связями, электростатическими взаимодействиями, лиофобными взаимодействиями в органических растворителях и др. Если длительность контактов и времена релаксации рассматриваемых процессов оказываются соизмеримыми, обнаруживается высокая чувствительность времен релаксации к изменениям внутримакро-молекулярной структуры. Такими процессами являются наносекундные внутримолекулярные движения, происходящие с участием основной полимерной цепи. Эти релаксационные процессы изучаются в первую очередь при исследовании динамики макромолекул в процессах их химических и структурных превращений.
Для сопоставления релаксационных характеристик макромолекул полимеров различных классов необходимо изучать релаксационный процесс, связанный с движением определенным образом выделенного участка основной цепи. Выполнение этого требования существенно для корректности сопоставления времен релаксации разных структурных переходов в полимерах различного химического строения. Поэтому в настоящем сообщении рассматриваются данные, полученные для определенного релаксационного процесса, и не анализируются характеристики, относящиеся к движениям полимерных цепей, проявляющимся в различных релаксационных явлениях — в релаксации дипольной поляризации, в явлениях ЯМР, ЭПР, в поглощении УЗ-колебаний [1—4].
Для изучения определенного релаксационного процесса концевой (или срединный) участок полимерной цепи выделяется с помощью метки одинакового строения, ковалентно связанной с полимером. Значительная информация при решении различных проблем физики и химии полимеров может быть получена при использовании люминесцирующих меток на основе изучения поляризованной люминесценции растворов меченых полимеров. Исследование поляризованной люминесценции растворов меченых полимеров возможно при любом содержании полимера в растворе — при высоком (допускаемом растворимостью полимера) и очень низком (<0,001%). Развита теория поляризованной люминесценции растворов меченых полимеров и разработаны методы синтеза полимеров с ковалентно присоединенными люминесцирующими метками [5].
К настоящему времени синтезировано и исследовано большое число полимеров с люминесцирующими антраценсодержащими метками, связанными с полимером ковалентной связью в 9-положении антраценового ядра. Синтез полимеров с ковалентно присоединенными антраценсодержащими люминесцирующими метками описан в работе [5, гл. 3].
Стерические взаимодействия массивного антраценового ядра, расположенного в основной или в коротких боковых цепях, с группами основной цепи приводят к тому, что вращение антраценового ядра с примыкающей к нему группой вокруг связей, соединяющих его с основной цепью, происходит лишь при колебательном подстраивании последней. Благодаря этому движение антраценсодержащей метки отражает движение основной цепи, внутримолекулярную подвижность полимера. Вращение самого антраценового ядра вокруг прилегающей связи, соединяющей ядро с боковой или основной цепью в 9-положении, в поляризованной люминесценции не проявляется из-за совпадения оси вращения с направлением дипольного момента перехода, с которым связана люминесценция.
Для определения времен релаксации т, характеризующих внутримолекулярную подвижность полимера, разработан метод, основанный на изучении поляризации люминесценции раствора меченого люминесцирующего полимера — метод поляризованной люминесценции, подробно описанный в работах [5, 6]. Времена релаксации т, характеризующие внутримолекулярную подвижность полимера в растворе, определяются с помощью формулы
где Р — измеряемая поляризация люминесценции раствора меченого полимера; тф — длительность свечения; 1/Р0' — параметр, связанный с амплитудой высокочастотных движений метки или термодинамической гибкостью цепи, связывающей антраценовое ядро с полимером. Содержание люминесцирующих меток в полимере не должно превышать 0.2 мол. %. Для сопоставления времен релаксации т для полимеров в растворителях разной вязкости определяют значения хпр, приведенные к одному значению вязкости растворителя г)пр с помощью соотношения
Данные для релаксационных процессов, проявляющихся в поляризованной люминесценции полимеров с люминесцирующнми антраценсодержащими метками в растворе, рассмотрены в настоящем обзоре. Отметим, что в поляризованной люминесценции проявляются релаксационные процессы с временами, соизмеримыми с длительностью люминесценции или отличающимися от длительности свечения не более чем в 100 раз. Свечение антраценового ядра, связанного с полимером, происходит с нано-секундной длительностью тф 4—12 не, поэтому с помощью поляризованной люминесценции полимеров с антраценсодержащими метками изучаются релаксационные процессы с временами релаксации 107—10-10 с.
В работах [5, 6] было обнаружено, что времена релаксации нано-секундных релаксационных процессов изменяются заметным образом при различных структурных переходах в макромолекулах в растворе. Поэтому метод поляризованной люминесценции был использован для исследования динамики макромолекул полимеров различных классов при структурных переходах типа клубок — глобула [7], клубок — компактная структура [8, 9], клубок — α-спираль — компактная структура — глобула [10] и для изучения других структурных переходов. Было обнаружено также, что внутримакромолекулярная динамика чувствительна не только к структурным превращениям макромолекул в растворе, но и к изменениям внут-римакромолекулярных взаимодействий различных типов. На этой основе исследуется структурообразование в растворах полимеров — формирование внутримакромолекулярных структур и надмолекулярных образований.
Оказалось, что наносекундные релаксационные процессы в полимерных цепях играют важную роль в химических превращениях с участием функциональных групп полимера. Эти данные также представлены в настоящем обзоре.
Для изучения динамики полимерных цепей в процессах внутримакромолекулярных структурных превращений и ее роли в процессах химических превращений в полимерных цепях исследования необходимо проводить в условиях, исключающих формирование надмолекулярных структур или даже межцепных контактов, т. е. при низком содержании полимера в растворе (0,05—0,01%). Эту исключительную возможность — проводить изучение разбавленных растворов полимеров — предоставляет метод поляризованной люминесценции.
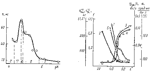
Изменение динамики полимерных цепей при изменении внутримакромолекулярных взаимодействий можно продемонстрировать на примере полиакриловой кислоты (ПАК) в водных растворах при изменении рН раствора [8]. При ионизации карбоксильных групп ПАК и разрыве внутримолекулярных связей внутримолекулярная подвижность возрастает (рис. 1), и наоборот, образование внутримакромолекулярных водородных связей, происходящее при значительном уменьшении доли заряженных групп СОО~, сопровождается увеличением времен релаксации от И до 23 не для рассматриваемого релаксационного процесса.
Изменение времен релаксации при изменении термодинамического качества растворителя или взаимодействий полимер — полимер и полимер — растворитель описывается зависимостью т—1/[т|] [11].
Внутримолекулярные взаимодействия и кинетическая жесткость молекул целлюлозы и других полисахаридов. Исследование динамики макромолекул ПАК при различных степенях ионизации карбоксильных групп показало, что внутримолекулярная заторможенность или кинетическая жесткость макромолекул полимера может быть обусловлена образованием внутримакромолекулярных связей, разрушение которых снижает кинетическую жесткость. До настоящего времени кинетически жесткими представлялись полимерные цепи целлюлозы и других полисахаридов [12,13]. Высокую кинетическую жесткость имеют также молекулы эфиров целлюлозы в водных растворах [13]. Исследование динамики полисахаридов различного строения — целлюлозы, ее производных, полиуронидов (пекта-тов, пектинатов, альгинатов) [13] в органических растворителях и в воде (растворитель для эфиров целлюлозы и полиуронидов) показало, что высокая кинетическая жесткость молекул полисахаридов связана с образованием внутримакромолекулярных водородных связей.
Рис. 1. Зависимость 9=(1/т) макромолекул ПАК в водных растворах от степени ионизации карбоксильных групп ПАК при 25°
Рис. 2. Изменение тпр макромолекул пектата (СООН-группа в каждом звене) (1) и пектината (СООН-группа замещена на СООСНз в 60% звеньев) (2) в зависимости от концентрации с ДМФА, добавленного к водному раствору полисахарида. Концентрация полимера=0,5 мг/мл.
Разрушение водородных связей изменяет кинетическую жесткость макромолекул целлюлозы и других полисахаридов до значений, характерных для макромолекул с высокой кинетической гибкостью— для ПС или ПММА в хороших растворителях [5]. В качестве растворителей, в которых молекулы целлюлозы и других полисахаридов приобретают высокую кинетическую гибкость, в работе [12] использовали смеси ДМФА с N-оксидами.
Роль внутримолекулярной водородной связи в структурообразовании и в изменении внутримолекулярной подвижности макромолекул можно продемонстрировать на примере пектата и пектината (рис. 2) [13]. Замена СООН-групп в пектатах на метилкарбоксилатные группы СООСН3 в пектинатах приводит к заметному изменению внутримакромолекулярного структурообразования. В молекулах пектатов в растворителе, способствующем образованию водородных связей (например, в ДМФА), наблюдается значительная внутримолекулярная заторможенность (т=150 не). Полимерные цепи пектинатов, в которых непрерывная последовательность звеньев, содержащих СООН-группы, нарушена, в ДМФА имеют высокую внутримолекулярную подвижность (т=12 не), сопоставимую с внутримолекулярной подвижностью ПС в хороших растворителях, для которого т=8 не.
Переход клубок — компактная структура. Формирование локальных структурированных участков в макромолекулах полиметакриловой кислоты (ПМАК) в воде при 25° при увеличении доли неионизированных СООН-групп сопровождается уменьшением характеристической вязкости [ц] раствора полимера, что свидетельствует о формировании компактной структуры, и значительным уменьшением внутримолекулярной подвижности (рис. 3). Так как структурообразование в макромолекулах ПМАК в воде при 25° связано в основном с формированием локальных структурированных участков, интервал перехода практически не зависит от молекулярной массы ПМАК (рис. 3). При повышении температуры водного раствора неионизованной ПМАК усиление гидрофобных взаимодействий неполярных групп структурированных участков — «шпилек» — приводит к дальнейшей компактизации макромолекул и к еще большему увеличению внутримолекулярной заторможенности. Интересно, что изменение внутримолекулярной подвижности, обусловленное слипанием «шпилек», в отличие от изменений внутримолекулярной подвижности при формировании локальных внутримакромолекулярных структур, существенным образом зависит от молекулярной массы ПМАК (рис. 4).
Рис. 3. Внутримолекулярная подвижность ПМАК в воде при разных степенях ионизации СООН-групп 0Отн=6а/6а=о (1, 2) и [ц] раствора полимера (3); 25°. ММ полимера 3,2-103 (1) или 1.5-104 (2)
Рис. 4. Температурные зависимости тпр для ПМАК с Л/=3-105 (2) и 1,5-104 (2) в воде и относительного изменения приведенной вязкости раствора полимера с Д/=3105 (3); т]пр=0,89 сП
Сопоставление данных для ПМАК и ПАК показывает, как различаются значения времен релаксации т, характеризующих внутримолекулярную подвижность структурированных макромолекул и макромолекул с внутрицепными водородными связями, но без элементов внутренней структуры. Значительное (в 3—10 раз) изменение времен релаксации свидетельствует о формировании (разрушении) внутримакромолекулярной структуры. Менее значительные изменения времен релаксации связаны с изменением отдельных внутрицепных контактов.
Переход клубок — глобула. Этот переход наблюдается в молекулах полимеров в условиях значительного усиления взаимодействий полимер — полимер, приводящих к выпадению полимера из раствора при концентрациях >0,01—0,03%. Метод поляризованной люминесценции, позволяющий исследовать очень разбавленные растворы полимеров, был применен для изучения перехода клубок — глобула для полимеров различных классов при формировании глобулы в различных условиях — в воде при нагревании [7] или при изменении рН раствора [10], в органических растворителях при изменении температуры [14] или при добавлении осадителя [5].
На основе изучения динамических характеристик установлены закономерности формирования внутримолекулярной структуры типа глобулярной. Обнаружена зависимость интервала формирования глобулы от ММ полимера. Чем больше ММ, тем раньше формируется глобула, т. е. при меньшем воздействии структурообразующего фактора. Неизменность интервала формирования глобулы при изменении содержания полимера в растворе в исследованных условиях указывает на внутримолекулярный характер перехода. Образование глобулы сопровождается увеличением внутримолекулярной заторможенности, ростом значений времен релаксации на 1—2 порядка и последующим появлением нового релаксационного процесса — подвижности компактной макромолекулы как целого [10, 15] (рис. 5).
Переход клубок — изотропно-жидкая Глобула — ЖК-глобула. Интересные данные были получены при анализе изменений динамики макромолекул ЖК-полимеров с боковыми мезогенными группами. Приведем результаты для холестеринового эфира полиметакрилоил-со-оксиундекановой кислоты (ПХМ-10) [16]. Исследования проводили в растворителях различной природы при изменении температуры в интервале 20—70°. Установлена роль мезогенных групп в структурообразовании и обнаружен новый тип структурного перехода клубок — изотропно-жидкая глобула — ЖК-глобула.
Рис. 5. Зависимость т от рН для сополимера глутаминовой кислоты и лейцина (83 — 17 мол.%) в воде при 25° [10]. Области: I — клубок; II—IV — формирование внутренней структуры: а-спирали (II), компактной структуры (III), глобулы (IV); V — межмакромолекулярные ассоциаты Рис. 6. Температурные зависимости (для ПХМ-10 в гептане) т0цпр (1), ТбЦпр (2), вклада / высокочастотных движений (3), т|уд/с (4) и оптической активности [а] (5); г) „р=0,38 сП
Исследовали фракции ПХМ-10 с ММ от 0,35-106 до 6,6106. Определение подвижности основной и боковых цепей макромолекул ПХМ в гептане при охлаждении от 70 до 20° показало, что в интервале 55—47° формируется компактная структура типа глобулярной (измеряли (R2) и [н]) с заторможенной основной цепью тоц (рис. 6) и подвижными боковыми цепями тбц. Плотность упаковки звеньев в компактных макромолекулах при 47° (оценка по изменению амплитуды высокочастотных движений параметра 1/Р) незначительно отличается от плотности упаковки макромолекулярного клубка. Расположение мезогенных групп остается изотропным (оптическая активность раствора не меняется). Это значит, что в интервале 55—47° формируется изотропно-жидкая глобула.
При охлаждении <47° параметры кинетической тоц, х6п и термодинамической 1/Р0 гибкости меняются кооперативно и приближаются к значениям, характерным для конденсированного состояния, появляется порядок в расположении мезогенных групп (рис.6). Эти данные показали, что изотропно-жидкая глобула превращается в ЖК-глобулу. Переход в ЖК-глобулу осуществляется лишь при достижении критического значения Л/=2- 10е. В полимере ПХМ-10 с М—2-106 переход имеет внутримолекулярный характер. В растворах ПХМ-10 меньшей ММ переход в ЖК-глобулу происходит с участием надмолекулярных образований с М=2-10е, формирование которых предшествует переходу. Так, подход, основанный на изучении динамики макромолекул (основной полимерной цепи и длинных боковых цепей), позволил обнаружить новые структурные переходы.
Динамика макромолекул в многокомпонентных полимерных системах
Использование люминесцирующих меток, ковалентно связанных с определенным участком полимерной цепи, позволяет изучать динамические свойства выделенного участка, а в многокомпонентных системах — динамику выделенного компонента. Таким путем можно изучить динамику каждого из компонентов многокомпонентной системы. Этот подход был применен к исследованию структуры и структурных превращений макромолекул трехблочных сополимеров, содержащих блоки ПС и ПММА или водорастворимый блок ПМАК с Л/=104—105 [17] в селективных растворителях. В результате исследования структурообразования в макромолекулах блок-сополимеров были установлены условия формирования внутримолекулярных структур различных типов. Обнаружены структуры трехблочных сополимеров типа глобулярной, гантелевидной, кольцевой, сандвичевой. Показано, что структурообразование в молекулах трехблочных сополимеров в селективных растворителях зависит не только от химического строения блоков, но и от способа их расположения вдоль полимерной цепи.
Другим примером многокомпонентных систем являются интерполимерные комплексы. Изучение динамики полимерных цепей в интерполимерных комплексах позволяет получить информацию как о закономерностях протекания межмакромолекулярных реакций, так и о составе и структуре интерполимерного комплекса. Возможность решения круга вопросов, связанных с образованием и структурой интерполимерных комплексов, на основе изучения динамики взаимодействующих полимерных цепей связана с существенным различием динамических характеристик макромолекул в растворе и в интерполимерном комплексе. Времена релаксации при образовании поликомплекса возрастают на 1—2 порядка [18].
Изучение динамики полимерных цепей в интерполимерном комплексе и в растворе при разном содержании взаимодействующих полимеров позволило определить состав интерполимерного комплекса для взаимодействующих полимеров различного химического строения. Для этого с помощью релаксационных характеристик свободных и связанных в интерполимерном комплексе полимерных цепей устанавливается зависимость доли молекул каждого компонента в интерполимерном комплексе и в растворе от соотношения p=[Ai] : [А2], где [А,] и [А2] — содержание полимеров А, и А2 в растворе (в молях мономерного звена). Состав поликомплекса определяется тем соотношением р при котором доля молекул, не вошедших в интерполимерный комплекс, для каждого из компонентов оказывается минимальной, т. е. точкой пересечения кривых ОДР) и ^(ji) на рис. 7. Таким путем были определены составы интерполимерных комплексов, образованных при взаимодействии поливиниламидов с поликарбоновыми кислотами в воде и в органических растворителях. Так, в комплексе ПМАК — полпвинилпирролидон (ПВП) в воде на одно звено поликислоты приходится два звена поли-М-винилпирролидона [19].
При изучении поликомплексов белка с линейным полиэлектролитом — ПМАК в водно-солевых растворах на основе изучения внутримолекулярной подвижности ПМАК и подвижности белковых глобул как целого был обнаружен нестатический характер распределения молекул белка по цепям ПМАК. Исследовали структуру комплекса и были установлены факторы, влияющие на его стабильность [20].
Динамика полимерных цепей в процессах химических превращений макромолекул
Исследование динамических свойств участков (или компонентов) полимерной системы, содержащих вступающие в реакцию функциональные группы, позволяет получить данные о связи внутримолекулярной подвижности и реакционной способности макромолекул. С другой стороны, химическая модификация макромолекул (в том числе и межмакромолеку-лярные реакции) приводит к изменению строения полимерной системы и в большинстве случаев к изменению динамических свойств полимерных цепей. Анализ этих изменений дает интересную информацию при изучении процессов образования полимерных систем или механизмов реакций с участием макромолекул.
Исследование реакций образования макромолекул. Синтез системы модельных меченых полимеров различного химического строения с варьируемым расположением люминесцирующих антраценсодержащих меток (в основной полимерной цепи, на ее конце, в боковых группах) и их исследование с помощью метода поляризованной люминесценции позволили получить данные о динамических свойствах различных структурных фрагментов макромолекул, выделенных присоединением метки [5, 6].
Рис. 7. Зависимость доли Ф полимерных цепей ПВП (1) п ПМАК (2), не вошедших в интерполимерный комплекс, от 5=[ПМАК] : [ПВП] (содержание полимеров в молях полимерных звеньев) в воде. [ПМАК] = 1 мг/мл; 25°
Рис. 8. Степень превращения X 9-хлорметилантрацена при реакции с сополимерами стирол — а-метилстирол в зависимости от содержания с а-метилстирольных звеньев в сополимере Ц) и локальные динамические характеристики (1/т) сополимерных макромолекул при присоединении меток в процессе исследованной реакции (2) или при случайном распределении меток (3)
Эти работы создали основу для исследования реакций образования макромолекул с помощью изучения их локальных динамических свойств. Действительно, если при исследовании определенной реакции образования полимера использовать реагенты (инициатор, сомономер, сшивающий агент), содержащие люминесцирующую (например, антраценовую) группу, то образуются меченые полимеры. Исследование динамических свойств тех фрагментов полимерной системы, которые содержат антраценовые группы, и их сопоставление с динамическими свойствами модельных полимеров соответствующего химического строения с известным расположением меток может дать важную информацию при изучении механизмов исследуемых реакций.
Примером решения подобной задачи явилось исследование реакции инициирования полимеризации виниловых мономеров инициаторами типа арилдиазоалканов [21]. В соответствии с предложенной ранее гипотезой о механизме инициирования [22, 23], при термическом расщеплении арилдиазоалкана (9-антрилдиазометана) образуются промежуточные ант-раценсодержащие соединения бирадикального характера. Их взаимодействие с молекулами мономера (ММА) должно приводить к образованию макромолекул ПММА, содержащих антраценовые группы в боковых радикалах или в основной полимерной цепи. Для проверки предложенного механизма инициирования с помощью метода поляризованной люминесценции были определены динамические характеристики антраценсодер-жащих участков полимерных цепей ПММА, полученного с помощью П-антрилдиазометана. Их сопоставление с данными для модельных ПММА с антраценовыми группами, заведомо расположенными в боковых радикалах, в основной полимерной цепи или на ее конце, показало, что в исследуемом ПММА антраценовые группы расположены в наиболее подвижных участках макромолекул, т. е. на концах полимерных цепей [21], но не в боковых радикалах при срединных участках основной цепи. Это означает, что действительный механизм реакции инициирования с помощью арилдиазоалканов отличается от предложенного.
Анализ динамических свойств меченых участков макромолекул был использован при изучении свободно-радикальной сополимеризации с участием винилантраценов (9-винилантрацена, 10-метил-9-винилантрацена, 2-винилантрацена) [24]. Исследования показали, что при сополимеризации 9-винилантраценов с ММА (в отличие от сополимеризации 2-винилантрацена) антраценсодержащие активные центры растущих цепей претерпевают перегруппировку. В результате реакции образуются сополимерные макромолекулы, содержащие звенья 9-метилен-9,10-дигидроантра-ценовой структуры. Эти звенья в соответствующих условиях могут быть изомеризованы с образованием звеньев 9,10-диалкилантраценовой структуры. Последовательное осуществление обоих изомеризационных процессов приводит к получению полимера с антраценовыми группами, расположенными в наименее подвижном структурном фрагменте макромолекулы — в ее основной цепи [24]. Этот факт в значительной степени способствовал пониманию механизма изучавшейся реакции.
Реакции макромолекул с низкомолекулярными реагентами. Исследование роли динамических свойств полимерных цепей в протекании полимераналогичных реакций, изучение локальной реакционной способности макромолекул в связи с их структурной и динамической гетерогенностью являются актуальными задачами химии ВМС. Такие исследования могут быть осуществлены при использовании антраценсодержащих реагентов соответствующего химического строения и последующем изучении динамических свойств образовавшихся антраценсодержащих полимеров с помощью метода поляризованной люминесценции.
При изучении реакции между фенильными группами сополимеров стирола и α-метилстирола и 9-хлорметилантраценом было обнаружено, что зависимость реакционной способности сополимеров от их состава представляет собой колоколообразную кривую (рис. 8, кривая 1) [25]. Ход этой зависимости хорошо коррелирует с ходом зависимости динамических характеристик участков цепей сополимеров, содержащих прореагировавшие фенильные группы, от состава сополимера (кривая 2). Динамические характеристики этих участков были определены методом поляризованной люминесценции при использовании в качестве меток тех антраценовых групп, которые присоединились в процессе исследуемой реакции. Внутримолекулярная подвижность тех же сополимеров, также определяемая методом поляризованной люминесценции, но с помощью антраценсодержащих меток, введенных при сополимеризации и случайным образом распределенных вдоль сополимерных цепей, лишь в слабой степени зависит от состава сополимеров (кривая 3). Сопоставление кривых 2иЗ показывает, что реагент в процессе исследованной реакции выбирает для атаки те фенильные группы, которые расположены в наиболее подвижных участках полимерных цепей.
Для изучения реакционной способности функциональных групп одинакового химического строения (карбоксильных), присоединенных к раз-нозвенным макромолекулам, и ее связи с локальными динамическими характеристиками полимерных цепей разработана специальная методика, схема которой представлена на рис. 9. Используются два реагента одного типа, два арилдиазометана. Один из них — 9-антрилдиазометан (АДМ) — содержит люминесцирующую группу, другой — дифенилдиазометан (ДДМ) — «темновой» и способен блокировать наиболее реакционноспособные карбоксильные группы макромолекул без образования люминес-цирующих меток. Варьируются последовательность и глубина реакций с участием сначала одного, затем другого реагента. Модифицированные таким образом полимеры исследуются методом поляризованной люминесценции. Применение этой методики к изучению как синтетических гетерополимеров (сополимеры ММА и метилакрилата с «меточным», т. е. менее 0,1 мол. % содержанием звеньев метакриловой кислоты [26]), так и природных полимеров (на примере белка химотрипсиногена [27]) позволило обнаружить, что макромолекулы исследованных полимеров характеризуются химической гетерогенностью (различной реакционной способностью функциональных групп одинакового химического строения). При этом
было показано, что более реакционноспособные группы расположены в более подвижных участках макромолекул.
Исследование динамических свойств макромолекул при их взаимодействии с низкомолекулярными реагентами позволяет проследить не только за ходом реакции, но и за структурными превращениями полимерной системы, сопровождающими изменение ее химического строения [28, 29]. Так, при изучении с помощью метода поляризованной люминесценции динамических свойств меченого сополимера винилпирролидон — винила мин (ВП — BNH2), взаимодействующего с алкилсульфатами (АС) в водных растворах, было обнаружено, что при увеличении соотношения [АС] : [BNH,] в реакционной среде от 0 до 1 времена релаксации т, характеризующие внутримолекулярную подвижность сополимера, кооперативно возрастают (если в АС алкил Ci2—С15, то значения т увеличиваются от 20 до 100—140 не) [28]. Это свидетельствует о том, что взаимодействие сополимера ВП — BNH2 с АС в воде сопровождается внутримакромолекулярным структурообразованием и существенной компактизацией его макромолекул.
Значительное изменение динамических свойств макромолекул в результате реакций с низкомолекулярными реагентами позволяет изучать конкурентные взаимодействия между полимерами различного химического строения и низкомолекулярным соединением. Для этого полимерные компоненты сложной реакционной системы поочередно выделяют присоединением метки. Таким образом была, например, исследована конкурентная реакционная способность сополимеров ВП — BNHR (при вариации химического строения R) по отношению к алкилсульфатам в водном растворе [30].
Межмакромолекулярные реакции. Интерполимерные комплексы (ИПК), образующиеся в результате взаимодействия химически и структурно комплементарных макромолекул различного химического и (или) стереохимического строения, имеют важное значение в биологических системах и открывают интересные перспективы в области синтетических полимеров. В процессе межмакромолекулярных реакций (образование полимерных комплексов, реакции обмена и реакции замещения с участием макромолекулярных компонентов полимерных комплексов, разрушение комплексов под действием различных факторов) значительно, в десятки и сотни раз, изменяются времена релаксации, характеризующие наносекундные релаксационные процессы в полимерных цепях [18, 31—33]. Поэтому при исследовании таких реакций изучение динамических свойств взаимодействующих макромолекул исключительно информативно. Использование метода поляризованной люминесценции для измерения динамических параметров реагирующих макромолекул открывает дополнительные возможности, так как позволяет изучать поведение каждого из полимерных компонентов сложной реакционной системы, предварительно выделенного присоединением метки. На рис. 10 приведены данные, характеризующие деструкцию стерео-ИПК, который образован макромолекулами синдио- и изо-ПММА, при действии хлороформа на раствор ИПК в ДМФА. Эта реакция прослежена по изменению динамических характеристик одного из компонентов ИПК — меченого синдио-ПММА.
Из приведенных примеров следует, что динамика полимерных цепей в растворе является, с одной стороны, чувствительным тестом внутримакро-молекулярного структурообразования и химических превращений с участием макромолекул, а с другой — фактором, влияющим на протекание реакций в цепях полимера.
ЛИТЕРАТУРА
Борисова Т.И., Бурштейн Л.Л. В кн.: Современные физические методы исследования полимеров/Под ред. Слонимского Г.Л. М.: Химия, 1982, с. 156.
Heatley F. Progress NMR Spectroscopy, 1979, v. 13, p. 47.
Вассерман A.M., Александрова Т.А., Кирш Ю.Э. Высокомолек. соед. А, 1980, т. 22, № 2, с. 275.
Григорьев С.Б., Михайлов И.Г. Высокомолек. соед. А, 1981, т. 23, № 9, с. 1907.
Anufrieva Е.V., Gotlib Yu.Ya. Advances Polymer Sci., 1961, v. 40, p. 1.
Anufrieva E.V. Pure and Appl. Chem., 1982, v. 54, № 2, p. 533.
Ануфриева E.В., Волъкенштейн M.В., Готлиб Ю.Я., Краковяк М.Г., Паутов В.Д., Степанов В.В., Скороходов С.С. Докл. АН СССР, 1972, т. 207, № 6, с. 1379.
Ануфриева Е.В., Волъкенштейн М.В., Краковяк М. Г., Шевелева Т.В. Докл. АН СССР, 1968, т. 182, № 3, с. 361.
Ануфриева Е.В., Волъкенштейн М.В., Краковяк М.Г., Шевелева Т.В. Докл. АН СССР, 1969, т. 186, с. 854.
Anufrieva Е.V., Bychkova V.Е., Krakovyak М.G., Pautov V.D., Ptitsyn О.В. FEBS Letters, 1975, v. 55, № 1, p. 46.
Ануфриева Е.В., Волъкенштейн М.В., Краковяк М.Г., Шевелева Т.В. Докл. АН СССР, 1971, т. 200, № 2, с. 358.
Anufrieva Е.V., Krakovyak М.G.. Lushchik V.В., Pautov V. D., Petropavlov-sky G.A., Shek V.M. Cellulose Chem. and Technol., 1985, v. 19, № 5, p. 471.
Ануфриева E, В.. Некрасова Т. H., Браудо Е. Е., Краковяк М. Г., Лущик В.Б., Толстогузов В.В.. Юръев В.П. Высокомолек. соед. А, 1985. т. 27, № 11, с. 2347.
Ануфриева Е.В., Паутов В.Д., Фрейдзон Я., Шибаев В.., Платэ П.А. Высокомолек. соед. А, 1982, т. 24, № 4, с. 825.
Бычкова В.Е., Семисотое Г.В., Птицын О.Б., Гудкова О.В., Митин Ю.В., Ануфриева Е.В. Молек. биология, 1980, т. 14, с. 278.
Ануфриева Е.В., Паутов В.Д., Фрейдзон Я.С., Шибаев В.П., Платэ Н.А. Докл. АН СССР, 1984, т. 278, № 2, с. 383.
Ануфриева Е.В., Краковяк М.Г., Громова Р.., Миловская Е.Б., Рудковская Г.Д., Замойская Л. В., Лущик В.Б., Шевелева Т.В. Высокомолек. соед. А, 1981. т. 23. № 12. с. 2667.
Ануфриева Е.В., Паутов В.Д., Лаписов И.И., Кабанов В.А. Докл. АН СССР, 1977, т. 232, № 5, с, 1096.
Рамазанова Ы.Р., Краковяк М.Г., Ануфриева Е.В. Узб. хим. журн., 1985, № 3. с. 35.
Ануфриева Е.В., Самсонов Г.В., Кузнецова Н.П., Паутов В. Д., Краковяк М.Г., Мишаева Р. П., Шевелгва Т.В. В кн.: Всесоюз. копф. «Интерполимерные комплексы». М.: Изд-во МГУ. 1984, с. 32.
Krakovyak М.G., Anufrieva Е.V., Lushchik V.В., Shelechov N.S., Skorokhodov S.S.J. Macromolec. Sci. Chem., 1978, v. 12, № 6, p. 789.
Nakaya Т., Ohashi K., Imoto Д. Makromolek. Chem., 1968, B. 114, № 4, S. 201.
Imoto M., Nakaua T. J. Macromolec. Sci. Rev. Macromolec. Chem., 1972, v. 7, № 1, p. 1.
Krakovyak M.G., Anufrieva E.V., Shelekhov N.S., Skorokhodov S. S. Europ. Polymer J., 1974, v. 10, № 8, p. 685.
Краковяк M.Г., Ануфриева E.В., Ананьева Т.Д., Лущик В.Б., Шелехов П.С. Скороходов С.С. Изв. АН СССР. Сер. физ., 1975, т. 39, № 11, с. 2354.
Краковяк М.Г., Ануфриева Е.В., Лущик В.Б., Громова Р.А. Высокомолек. соед. Б, 1978, т. 20, № 2, с. 131.
Ануфриева Е.В., Краковяк М.Г., Кузнецова И.П., Гудкин Л.Р., Паутов В. Д. Высокомолек. соед. Б, 1978, т. 20, № 2, с. 129.
Ануфриева Е.В., Панарин Е.Ф., Паутов В., Семисотнов Г.В., Соловский М.В.//Высокомолек. соед. А, 1977, т. 19, № 6, с. 1329. .29. Ануфриева Е.В.. Панарин Е.Ф., Паутов В.Д., Соловский М.В. Высокомолек. соед. А, 1981, т. 23, № 6, с. 1222.
Нравится материал? Поддержи автора!
Ещё документы из категории химия:
Чтобы скачать документ, порекомендуйте, пожалуйста, его своим друзьям в любой соц. сети.
После чего кнопка «СКАЧАТЬ» станет доступной!
Кнопочки находятся чуть ниже. Спасибо!
Кнопки:
Скачать документ