Проектирование и расчет работоспособности локальной вычислительной сети расчетно-кассового центра коммерческого банка


































































Негосударственное образовательное учреждение высшего профессионального образования
«ВОСТОЧНАЯ ЭКОНОМИКО-ЮРИДИЧЕСКАЯ ГУМАНИТАРНАЯ АКАДЕМИЯ»
Институт современных технологий образования
Курсовая работа
Проектирование и расчет работоспособности локальной вычислительной сети расчетно-кассового центра коммерческого банка.
Дисциплина: Вычислительные системы, сети и телекоммуникации
Выполнила: Скрипкина Бажена Сергеевна
Салават 2010
Содержание
Введение
1. ТЗ на проектирование.
1.1 Характеристика объекта управления.
1.2 Цели и назначение системы.
1.3 Основные требования к системе
1.3.1 Общие требования к системе.
1.3.2 Требования к ТО
1.3.3 Требования к ИО.
1.3.4 Требования к ПО
1.4 Методика определения технико-экономических показателей
1.5 Состав, содержание и организация работ по созданию АЭИС
1.6 Исходные данные для проектирования
1.6.1 Источники и потребители информации..
1.6.2 Технические средства.
2. Разработка ИО системы.
2.1 Принципы организации ИО системы.
2.2 Организация сбора и передачи информации.
2.3 Система классификации и кодирования.
2.4 Организация внутримашинной базы.
2.5 Организация внемашинной базы.
2.6 ТП обработки данных.
3. Разработка ТО системы.
3.1 Структура КТС системы.
3.2 Разработка ЦВК.
3.3 Выбор и расчет периферийных ТС
3.4 Выбор оптимального варианта КТС.
3.5 Структурная схема КТС
4. ПО системы.
4.1 Структура программного обеспечения и его основные функции
4.2 Методы и средства разработки ПО
4.3 ОС и средства, расширяющие ее возможности
5. Экономическая эффективность системы.
5.1 Расчет основных экономических показателей системы
Выводы
Список используемой литературы.
Введение
Современный этап научно-технического прогресса характеризуется интенсивным развитием экономики, что требует совершенствования управления на всех уровнях хозяйствования. Одним из эффективным направлений является автоматизированные экономико-информационные системы (АЭИС).
В настоящем проекте делается попытка проектирования такой АЭИС, которая бы способствовала повышению эффективности управления объектом, автоматизации труда работников, повышению их производительности, сокращению затрат на производственные расходы, и, как следствие этого, повышение прибыли, увеличение размеров уставного фонда, то есть достижение главных целей, которые предприятие ставит перед собой.
Не имеет смысла доказывать актуальность данной проблемы, так как внедрение новейшей вычислительной техники и программного обесепечения позволит получить информацию высокого качества, в определенные сроки и заданной достоверности, уменьшит количество документов и ошибок.
1. ТЗ на проектирование
1.1 Характеристика объекта управления
Объектом управления является банк коммерческий банк "ПромТрансБанк". Банк имеет два филиала и центральный офис (внутренние связи).
На рабочих местах ведутся финансово-расчетные операции. Учет данных операциях сопровождается:
котролем при сверении сумм, отражаемых в выписке банка и приложенных к ней первичных документов;
контролем использования полученных из банка наличных денег по целевому назначению;
контролем, встречной проверкой документов, получением или взносами наличных денег;
контролем, встречной проверкой документов, достоверностью операций по перечислению сумм за оказанные услуги;
контролем с приходно-кассовыми документами;
и так далее.
Результаты расчетных операций в депозитном отделе для физических лиц и в бухгалтерии для юридических лиц собираются и передаются в бухгадтерию, где оформляются платежные поручения, которые передаются из филилалов в центральный офис по КС.
1.2 Цели и назначение системы
Основная цель системы увеличение количества информационного обслуживания за счет:
автоматизация труда работников;
снижение трудоемкости работ по расчету и контролю;
сокращения времени на введение входной информации;
сокращения времени на ведение выходной информации;
сокращение объема сверхурочных работ за счет степени полноты, достоверности и оперативности информации;
внедрения новых видов услуг, оказываемых банком клиентам;
уменьшение затрат на производственные расходы;
расширение сети корреспондентских отношений.
1.3 Основные требования к системе
1.3.1 Общие требования
1. Создаваемая АЭИС должна являться системой с количеством автоматизированных функций до 20% общего количества автоматизированных функций системы;
2. Система должна выпускать текстовые, графические Д, а также фиксировать информацию на МД;
3. АЭИС должна разрабатываться как трехуровневая система;
4. Формы выдаваемых документов должны соответствовать установленным стандартам и требованиям управления банка;
5. Достоверность результатной информации должна быть не ниже 10-7;
6. Своевременность выдачи результатной информации потребителю:
оперативной - до 1 часа;
текущей оперативной
- в течение суток;
текущей неоперативной - в течение недели; перспективной - в течение месяца;
учетная - в течение недели.
7. Основные показатели:
достоверность - не ниже 10-7;
годовой экономический эффект - около 5 млрд. крб.;
срок окупаемости - 8 месяцов;
время обработки, выдачи информации (ответ системы на запрос) - не более 13 секунд.
8. Минимизация затрат времени на заполнение текущих Д - до 3 минут на человека;
9. Снижение трудоемкости работ по расчету и контролю (50%);
10. Частота повышения входной и выходной информации - 1 раз в сутки (текущий и учетный).
1.3.2 Требования к ТО
ЦВК должно состоять из однотипных ЭВМ;
ЦВК должно удовлетворять следующим требованиям:
иметь средства вывода больших объемов информации на МН (МД);
обеспечивать работу в диалоговом, пакетном, мультипрограмном режимах;
объем оперативной памяти ЦВК должен позволять использовать не менее 30 Мбайт, ОС, допускающие реализацию в различных режимах.
Количество ЭВМ на ЦВК не больше 7;
ТО должно обеспечивать автоматизированное прохождение информации (от формирования до отображения результатов обработки);
Система передачи данных должна обеспечивать подключение и обмен данными ЦВК с терминалами;
ТС, устанавливаемые на объекте или в его подразделениях, должны реализовывать следующие функции:
ввод И с КЛ;
распечатку Д на бланках;
передача И по КС;
Надежность ТС системы должна быть не ниже 0,96;
Стоимость основного обрудования (основного и вспомогательного) не должно превышать 2 млрд. крб.;
При выборе КТС системы будут рассмотрены следующие варианты:
децентрализованная система;
сети ЛВС; далее смотри примечание
Уровень использования физического канала связи должен быть в диапазоне от 20 до 30% максимальной пропускной способности системы;
Кабельная сеть ЛВС должна быть легко разветвляющейся;
Оценку эффективности вариантов КТС производить по критериям:
достоверность;
надежность;
время ответа системы на запрос;
Режим работы системы - односменный;
Передающая среда ЛВС должна быть устойчивой к электромагнитным помехам.
1.3.3 Требования к ИО
1. Для реализации функций ИО должны создаваться БД в соответствии со стандартами;
2. В состав БД системы должна входить следующая информация:
нормативно-техническая;
справочная;
по функциональным задачам;
3. ИО должно включать архивные данные;
4. В качестве основной структуры БД - реляционная модель, группа - распределенная;
5. БД должна храниться на винчестере, на МД;
6. Носители информации: Д, МД;
7. Методы контроля:
логический;
контрольный разряд;
на четность и нечетность;
контрольных сумм.
8. Должна быть обеспечена сохранность и защита информации за счет пароля.
1.3.4 Требования к ПО
1. Стоимость разработки ПО не должна превышать 3 млрд. крб.;
2. Тип СУБД FoxPro 2.0.
3. Версия ОС ЭВМ - MS DOS 5.0 и ее новые модификации;
4. Система должна выполнять сбор, фиксацию, передачу данных, кодирование, организацию массивов, поиск информации;
5. Должен быть абонентский банк данных;
6. Включать программы по контролю и учету используемых ресурсов;
7. Совместимость с уже разработанными программами;
8. Должно строиться на основе типизации программ по классам задач, по технологическому (хранение и выдача МН, формирование МН и выходных Д) и функциональному (унификация задач статической обработки информации) признакам.
Примечание: Централизованная система рассмотрена не будет, т.к. этот вариант не эффективен, большая нагрузка, много лишних данных передается на ВЦ, ожидаемый результат поступает через длительное время.
1.4 Методика определения технико-экономических показателей АЭИС
Годовая экономия от внедрения АЭИС определяется по формуле:
Э = N * Z, где
N количество автоматизированных рабочих мест (АРМ);
Z прямой экономический эффект от внедрения одного АРМ. Определяется по формуле:
Z = H - R, где
H ежегодный экономический эффект;
R приведенные к одному АРМ затраты на приобретение средств ВТ и системы передачи данных и т.д.
Ежегодный экономический эффект определяется по формуле:
, где
Х число ИТР и служащих, пользующихся одним АРМ (обычно 2-4);
К средневзвешенное число смен (1 - 2,5);
С средние ежегодные затраты на одного сотрудника;
Р относительная средняя производительность сотрудника, пользующегося АРМом (140 - 350%).
Затраты на приобретение средств ВТ для одного АРМ:
, где
Кивс общие затраты на проектирование и создание ИВС;
Тн нормативный срок жизненного цикла технического обеспечения (6 -8 лет);
Сэ текущие ежегодные эксплуатационные расходы;
Сп теукщие ежегодные расходы на развитие программных средств.
Общие затраты на проектирование и создание ИВС определяются:
Кивс = К1 + К2 + К3, где
К1 производственные затраты;
К2 капитальные вложения;
К3 остаточная стоимость ликвидированного оборудования.
К1 = С1 + С2 + С3, где
С1 затраты на НИР и ТЗ;
С2 затраты на опытную эксплуатацию и внедрение;
С3 затраты на рабочий проект.
, где
Ki затраты на приобретение ЭВМ, АП, Т, помещений, прокладку КС, служебных площадей и т.д.
, где
Kib первоначальная стоимость действующего i - го вида оборудования;
годовая норма амортизации (12% от стоимости ТС);
Tiэ длительность эксплуатации i - го вида оборудования.
, где
Сiэ основная и доплнительная зарплата с отчислениями на соцстрах (принимается равным 6% от суммы основной и дополнительной зарплаты), амортизация, ремонт (3-4% от стоимости ТС), затраты на аренду КС, прочие расходы (принимаются в размере 0,7 - 1% от стоимости ТС варианта КТС), и т.д.
Срок окупаемости определяется по формуле:
S = Кивс / Z (в годах), (в месяцах S*12). Коэффициент эффективности: Е = 1 / S.
1.5 Состав, содержание и организация работ по созданию АЭИС
Таблица 1
-
стадии создания
Этапы создания
сроки выполнения
I Предпроектная стадия
II Техническое
проектирование.
III Ввод системы в эксплуатацию.
1. Предпроектное обследование объекта.
выбор объекта;
обследование объекта (внутренние связи, внешние связи, цели и назначение, изучение структуры, характеристика входной и выходной информации, состав и содержание документов, маршруты документов);
организация обработки учетной информации;
характеристика объекта и системы управления;
перспективы развития.
2. Разработка ТЭО АЭИС.
обоснование цели создания системы;
определение функций управления с целью их автоматизации;
выбор и обоснование ориентировочного состава КТС системы;
оценка состояния информационной базы системы;
расчет ожидаемых результатов создания системы;
оценка производжственной необходимостии экономической целесообразности создания;
3. Разработка ТЗ.
характеристика объектов управления;
цели создания и функционирования системы;
требование к системе и ее частям;
расчет технико-экономические показателей;
1. Разработка технического проекта:
описание предлагаемой организационноц и функциональной структуры системы;
описание постановки и решения комплекса задач функциональных задач подсистем;
описание КТС, ИО и ПО;
расчет ожидаемой экономической эффективности;
план мероприятий по подготовке объекта к внедрению системой.
2. Разработка рабочего проекта:
общесистемная документация,которая состоит из должностных инструкций по организации действий персонала в условиях функционирования системы, окончательонго расчета ожидаемой технико-экономической эффективности системы;
документация по информационному обеспечению(технологические инструкции по обработке информации, формы Д, объемы информации, альбомы классификаторов и кодов);
документация по ТО;
документация по ПО.
1. Опытная эксплуатация::
отработка системы;
выявление и устранение неполадок, корректировка документации.
2. Приемно-сдаточные испытания системы для передачи в промышленную эксплуатацию.
1.6 Исходные данные для проектирования
1.6.1 Источники и потребители информации
Требования к входной информации.
Таблица 2
-
Источник информации
Виды информации
Объем
Форма представления
НБУ
оперативная, неоперативная
2,5 * 106, 2*106
Т (маш. Код), Д; Д
Центральный офис
оперативная, неоперативная, учетная
105, 106, 1,1 *106
Телефон,Т, Д, МД;Д,МД;
МД,Т
Филиал №1
оперативная, текущая оперативная, текущая неоперативная, учетная
105, 106, 106,0,5 * 106
Т,телефон;МД,Д;МД,Д,Т;Д
Филиал №2
оперативная, текущая оперативная, текущая неоперативная, учетная
105, 106, 106,0,5 * 106
Т,телефон;МД,Д;МД,Д,Т;Д
Филиал №3
оперативная, текущая оперативная, текущая неоперативная, учетная
105, 106, 106,0,5 * 106
Т,телефон;МД,Д;МД,Д,Т;Д
Юридические лица
текущая
105
Д,телефон
Требования к выходной информации.
Таблица 3
-
Источник информации
Виды информации
Объем
Форма представления
Время
Достоверность
НБУ
оперативная неоперативная
учетная
105
106
1,1 * 106
Т,телефон
Д, телефон
Д
сут,неделмесяц
неделя
10-7
10-7
10-7
Центральный офис
оперативная
учетная
неоперативная плановая
2,2*105, 3*106,
4 *106
1,2*106
Телефон,Т Т,Д,телефон
Д,МД
Т, Д,телефон
1 час
5часов
неделя
сут,недля
10-8
10-8
10-7
10-7
Филиал №1
оперативная, неоперативная, плановая
3*104,
3*105
4*105
Т,телефон;
МД,Д;
МД,Д,Т
1 час
сутки
неделя,сутт
10-8
10-7
10-7
Филиал №2
оперативная, неоперативная, плановая
3*104,
2,5*105
4*105
Т,телефон;
МД,Д;
МД,Д,Т
1 час
сутки
неделя,сутт
10-8
10-7
10-7
Филиал №3
оперативная, неоперативная, плановая
3*104,
3,5*105
3*105
Т,телефон;
МД,Д;
МД,Д,Т,тел.
1,2 часа
неделя,сут
неделя,сутт
10-8
10-7
10-7
Юридические лица
оперативная
неоперативная
104
105
Д,телефон
Д
сутки
неделя
10-8
10-7
1.6.2 Характеристика средств ВТ
Таблица 4
-
тип ЭВМ
процессор
частота Мгерц
сопроцессор
объем ОЗУ
объем винчестера
тип дисплея
быстродействие (Мбайт/сек)
IBM PC/AT
IBM PC/AT
IBM PC/AT
286
486 DX
486 DX2
20
33
50
287
1
4
8
40
120
340
SVGA
SVGA
SVGA
106
107
107
Модемы внешние:
GVS скорость прердачи данных 2400 бит/с протокол MNP-5
ZOOM скорость прердачи данных 2400 бит/с протокол MNP-5
Принтеры (матричные):
EPSON LX 100 9-ти иголочный, формат А-4
EPSON LQ 100 24-ти иголочный, формат А-4
Копировальная техника:
CANON PC - 1
Система резервного питания:
(позволяет работать 40 минут после отключения электропитания, позволяет зафиксировать информацию, меньшая потеря информации)
Baсk-UPS 400 VA
2. Разработка информационного обеспечения системы
2.1 Принципы организации ИО системы
Для организации Ио системы целесообразно использовать БД (базы данных) и БнД (банки данных). БД можно разделить на три группы: децентрализованные, централизованные и распределенные. В данном случае наиболее приемлемой БД является распределенная, то есть БД разделена, распределена по местам сбора и обработки данных, но сохраняется возможность взаимного обмена между локальными БД (см. схему 1). БД в совокупности с СУБД, применяемой для ее создания, ведения, обработки называют БнД. БД и БнД занимают ведущее положение по объему информации, составу решаемых задач, сложности создания и поддержания в достоверном состоянии всей совокупности данных. Однако, это способствует разделению необходимой информации по типам решаемых задач. Данные упорядочиваются, сокращается время на поиск информации, уменьшается вероятность ошибок.
В зависимости от способа взаимосвязей элементов схемы и записей различают иерархические, сетевые, списковые, реляционные структуры БД. Наиболее предпочтительной является реляционная модель, котороая строится на понятии отношения и исключает недостатки, присущие сетевой и иерархической структурам.
Схема 1. Распределенная схема обработки данных
2.2 Организация сбора и передачи информации
Система представлена следующими видами информации: оперативная, неоперативная, учетная, плановая, текущая.
В течение дня в филиале банка собирается и формируется информация, которая затем передается для дальнейшей обработки в центральный офис. Формируются мемориальные ордера по учету прихода и расхода для вкладного отдела физических лиц и для аналогичного отдела юридических лиц, ордера отчетов по валюте и суммы выручки, отчет по кассе. Дааные вводятся в ЭВМ с клавиатуры, а затем через "почтовый ящик" передаются в центральный офис. Если операция с клиентами какого-либо филиала совершалась в центральном офисе, то через "почтовый ящик" необходимо потребовать расписку. В начале каждого дня по телефону сообщается в центральный офис приход и расход по операциям с клиентами. В течение дня необходимая информация, также может быть получена справочная информация. Отчет в бухгалтерии составляется за каждый день, а затем общие итоги в конце каждой недели и месяца. В конце месяца ссотавляется баланс для проверки деятельности каждого филиала. Все эти данные поступают в центр, где подвергаются дальнейшей обработке для полного и достоверного анализа деятельности банка. Центральный офис получает также информацию из Национального банка Украины, а затем оперативная немедленно передается в отделы. Проанализировав информационные потоки, можно сделать вывод: соблюдается логичность маршрута, отсутствуют паралелльные потоки, документы передаются в установленные сроки.
Требования к входной и выходной информации представлены в таблице 2 и 3.
На схеме 2 представлен документооборот.
Схема 2. Документооборот и маршруты документов.
2.3 Система классификации и кодирования
Система кодирования информации включает два основных метода кодирования: идентификационный и классификационный.
Идентификационное колирование предполагает лишь выделение данного объекта из множества других; каждому объекту присваивается номер по порядку. Система построения кода проста и экономична, так как используются малозначные коды. При незначительнм увеличении длины кода обеспечивается долговечность кодификатора. Недостатком же является практически отсутствующая информативность кода и фактически обеспечивается только возможность отличить один объект от другого.
Идентификационный метод бывает двух типов: порядковый и серийный (серийно-порядковый). Порядковый тип заключается в последовательной порядковой регистрации объектов. К достоинствам относят: наибольшую емкость, простоту для идентификации объектов, использование наиболее коротких кодов. Однако, в коде отсутствует информация о свойствах объекта, существует сложность автоматизированной обработки информации пр получении итогов по группе объектов. Применяется для кодирования небольших массивов объектов с одним признаком. Серийный тип каждой группе объектов отводятся последовательные серии номеров. Причем, каждая серия строится по порядковой системе кодирования. Достоинства типа определяются простотой построения, наличием резерва номеров, сравнительной малозначностью кодов. Недостатки состоят в том, что существует сложность построения серий номеров для объектов, характеризующихся многими свойствами; сложность автоматизированной обработки информации при суммировании итогов по группе объектов. Применяется для колирования объектов с небольшим числом признаков.
Классификационный метод основан на предварительной классификации объектов, то есть предполагает разделение всего множества объектов на группировки по избранному признаку классификации.
Включает два типа: последовательная и параллельная сситемы кодирования.
Последовательная система состоит в том, что код нижестоящей группировки образуется путем добавления кодов соответствующего количества разрядов к коду вышестоящей группировки. Система чаще всего используется при иерархической системе классификации. Преимущества: логичность построения кода, большая емкость, возможность получения итогов по старшим разрядам. Недостатки: жесткость структуры кода, которая не позволяет изменять или исключать отдельные признаки без перекодировки информации. Поэтому систему целесообразно использовать в классификаторах, когда перечень решаемых задач не изменяется в течение длительного времени и совокупность признаков достаточно долго остается неизменной.
Параллельная система обычно строится на основе предварительной фасетной классификации свойств объектов. При этом для обозначения фасета выделяется определенный разряд или группа разрядов кода. Достоинства системы в том, что независимое кодирование, с одной стороны обеспечивает простоту автоматизированной обработки информации по отдельным признакам или их совокупности, с другой стороны, достигается гибкость структуры кода. Недостатком является большая, по сравнению с другими системами, избыточность информации, то есть неполное использование емкости системы классификации.
В зависимости от того, рассматривается ли заданное множество объектов последовательно или одновременно по всем признакам основания деления, различают фасетную и иерархическую системы классификации.
Под иерархической системой понимается система, между классификационными группами которой устанавливается отношение соподчинения. Она строится по следующему принципу: исходное множество объектов делится сначала по некоторому признаку на крупные группировки. Каждая группировка, в свою очередь, в соответствии с выбранным признаком делится на ряд последующих группировок, которые затем подразделяются на более мелкие, постепенно конкретизируя свойства объекта. Преимущества системы: логичность построения, большая емкость, хорошая приспособленность для ручной обработки. Недостатки: обладает жесткой структурой, фиксированным составом и порядком следования классификационных группировок. В связи с этим она не позволяет составлять произвольные группировки по таким сочетаниям признаков, которые не были предусмотрены иерархической классификацией.
Указанные недостатки отсутствуют в фасетной системе. Здесь предусматривается деление исходного множества на подмножества по различным признакам классификации не последовательно а независимо и каждый раз эта операция производится над исходным множеством. В этой системе в качестве основания деления применяется параллельно несколько независимых признаков и классифицируемое множество объектов образует независимые классификационные группировки фасеты. Преимущества: возможность практически неограниченного добавлена числа фасетов; хорошая приспособленность к машинной обработке информации.
2.4 Организация внутримашинной базы
Состав внутримашинного ИО показан на рис. 1.
В качестве структурной модели БД используется реляционная модель. В основе лежит понятие отношения. Фактически БД представляет собой совокупность таблиц отношений, в которых строки являются кортежами, а столбцы доменами.
Для РМД характерно:
отсутствие одинаковых строк;
произвольное взаимное расположение строк и столбцов;
каждый элемент отношения, стоящий на пресечении строк и столбцов, не может быть составным.
При организации РБД каждый домен помечается идентификатором.
В РБД поисковые запросы формируются на языке, основанном на алгебре отношений. Результатом поиска может быть как один кортеж, так и несколько кортежей, состоящих из одного или нескольких доменов.
Преимущества РБД:
простота построения и восприятия;
практически готовый простой и гибкий язык, взятый из алгебры отношений;
легкость реорганизации БД (перестановка строк и столбцов, добавление новых, удаление);
простота работы с БД для широкого круга пользователей.
Недостатки Реляционной модели данных:
низкая эффективность использования ресурсов вычислительной системы, но нет тех недостатков, которые имели место в иерархической и сетевой моделях.
Группа БД распределенная. В случае централизованной БД при очень больших объемах данных для любой ее организации усугубляется проблема ее ведения и поддержания в актуальном состоянии. Кроме того, с ростом объема данных нелинейно, то есть очень быстро, возрастает время поиска и извлечения необходимых данных, время доступа к ним. Это приводит к необходимости разделения БД, ее рапсределении по местам сбора и обработки данных при сохранении возможности взаимного обмена между распределенными частями общей БД или локальными БД.
Таким образом, распределенная БД представляет собой совокупность взаимосвязанных территориально разнесенных локальных БД, использующих одну общую систему управления распределенной БД (см схему 1). Каждая локальная БД представляет собой либо файловую систему, либо БнД со своей локальной СУБД, либо использующая и то и другое.
Для пользователя организуется доступ к другим БД, который должен быть простым.
Распределенная БД является составной частью распределенной системы обработки данных, которая включает также распределенные вычислительные ресурсы, то есть совокупность ЭВМ, распределенную систему управления этими ресурсами операционные системы, соединенные с главной ЭВМ, соединяющую их сеть передачи данных.
2.5 Организация внемашинной базы
Документооборот данного объекта представлен на схеме 2 (п.2.2. организация сбора и передачи информации), в п.2.2 описан сбор, передача, хранение информации.
Схема 3. Общая структура ТП
3. Разработка технического обеспечения системы
3.1 Структура КТС системы
В данном проекте будут рассмотрены три варианта систем обработки информации:
I. Децентрализованный с передачей по КС
II. Децентрализованный с передачей курьером
III. ЛВС
При проектировании ТО системы используем исходные данные, приведенные в п. 1.6
I. Децентрализованная система с передачей по КС.
Предполагается связь абонента (т.е. подразделения) с ВЦ по КС, передача данных по КС. Эта система, однако, менее эффективна по сравнению с ЛВС, где предполагается также передача некоторых документов и машинных носителей курьером, что обеспечит снятие большой нагрузки с КС, а также передачу административных документов, требующих подпись Председателя Правления или других лиц. КС менее эффективен еще и потому, что существуют большие помехи, чем ЛВС (сеть более устойчива и помехозащищена).
Структура КТС I представлена на схеме.
II. Децентрализованная система с передачей курьером.
Предполагается связь абонента с ВЦ посредством передачи пакетов курьером (на схеме 4 отсутствует структура АПД-КС-АПД-МПД. Она заменена курьером), что значительно задерживает время системы на запрос и ведет к неэффективному использованию рабочего времени.
При объединении I и II системы исчезают недостатки II системы (увеличивается время ответа системы на запрос, эффективнее используется рабочее время). Однако остаются недостатки сиcтемы I, описанной выше.
Для расчетов рассмотрим объединенный вариант системы I и II с целью получения результатов, более приближенных к действительности ( см схему 5).
Схема 5. Децентрализованная система
III ЛВС.
Разработка ЛВС:
1. Конечная цель создания ЛВС включает в себя ряд задач:
сократить число командировок путем организации тематических конференций и совещаний по сети;
уменьшить затраты на коммуникацию удаленных объектов;
обеспечить оперативную передачу документов, включая графическую информацию;
выдача в срок различных отчетов и заявок;
облегчает процесс внесения срочных незапланированных изменений в проекты, заявки и другие документы;
сокращает время на проведение расчетов;
улучшает качество получаемой информации за счет создания собственной БД.
2. Исходные данные приведены в п.1.6
3. Максимальное расстояние между станциями - 0,6 км, совместно используются центральные ЭВМ (ГЭВМ), моноканальная система. Широко применяется электронная почта.
4. Передача данных через "почтовый ящик".
Применение данного метода передачи сообщений наиболее эффективно, так как позволяет передавать пакет документов в сжатом виде и в быстрые сроки, сокращает количество времени, необходимое для передачи данных.
Суть метода:
Индекс "почтового ящика" присваивается абонентам - источникам сообщению размером не более 256 кБайт и не обязательно подлежит срочной передаче. Если адресат занят, то на определенное время сообщение находится на хранении в "почтовом ящике". Максимальное время хранения сообщений должно быть не более 48 часов. Стандартный объем "потовго ящика" не менее 1мбайт (приблизительно 400 страниц текста). Если нет возможности передать сообщение адресату, то по истечению 48 часов оно передается обратно источнику с сообщением о возврате.
"Потовый ящик" состоит из описания каталогов (почтовых ящиков), каталога почтовых ящиков адресатов, каталога сообщений "почтового ящика" каждого конечного адресата и линейного пространства внешней памяти, в котором хранятся тексты сообщений. Описание и каталоги находятся в оперативной памяти.
Доступ к "почтовому ящику" реализуется через описатель каталога "почтового ящика" адресата. Описатель содержит: бит доступа; число страниц памяти, отводимых под каталог; текущее число адресатов в каталоге и номера физических страниц памяти, в которых находится каталог почтовых ящиков адресатов. Адрес местонахождения описателя находится в описателе системных параметров администраторов системы. Доступ к описателю осуществляется по специальной команде, обеспечивающей его блокировку.
Каталог "почтовых ящиков" адресатов занимает одну или две страницы оперативной памяти и ориентирован на описание "почтовых ящиков" адресатов, число которых не больше числа строк каталога. Каждая строка каталога есть описатель "почтового ящика" адресата. В нем указаны: индекс адресата адрес ПЭВМ, допущенной к режиму "почтового ящика", максимальное время хранения сообщений в "почтовом ящике" для данного адресата (увеличение срока хранения может быть специально задано); объем используемой физической памяти под "почтовый ящик " алресата; страницы оперативной памяти, отведенные для каталога "почтового ящика" адресата.
Каждому адресату соответствует один "почтовый ящик" (длина страницы - 2048 байт и длина строки 16 байт, может быть описана до 128 "почтовых ящиков" адресатов).
Описатель сообщения включает параметры: бит занятости, адрес источника сообщений, номер сообщения и его длину в битах, время занесения в "почтовый ящик", таблицу соответствия страниц.
Если сообщение поступает на хранение, то производится поиск в каталоге "почтовых ящиков" адресатов строки, соответствующей адресату, к используемой памяти добавляется объем данного сообщения, а к числу сообщений 1. Определяется номер свободной строки в каталоге и заполняются параметры, а сообщение передается в свободные страницы внешней памяти. Номера страниц заносятся в ТСС.
Изъятие сообщений происходит аналогично.
5. Выбор и обоснование топологии ЛВС.
Основными факторами, влияющими на выбор являются:
среда передачи информации (тип кабеля);
метод доступа к среде;
максимальная протяженность сети;
пропускная способность сети;
метод передачи и др.
Выбор типа кабеля.
Выбирается в зависимости от области применения, которая олределяется типом объекта и отношением его к промышленной или непромышленной сфере производства.
В данном случае: наиболее эффективен коаксиальный кабельь (широкополосной 75 Ом), топология сети древовидная (ее достоинство состоит в том, что центральные узлы расположены иерархически; детализация обработки в центральных узлах позволяет в какой-то мере устранить недостаток звездобразной топологии трудность обеспечения надежности работы при отказах центрального узла. Однако, исключается возможность альтернативного выбора маршрута), максимальная пропускная способность до 400 мБит / сек, максимальное число узлов в сети 2500 и более, максимальная длина 80 км.
Основные достоинства: обеспечивает одновременную передачу речи, данных, изображения; высокую помехозащищенность; легко разветвляется.
Основные недостатки: высокая стоимость, требуется применение дополнительных модемов, что ограничивает скорость передачи окошечных систем.
На основании определенных выше топологий сети и требований к ЛВС выбираем методы доступа к каналу: случайные.
Недостатки и достоинства методов описаны в таблице 6.
Таблица 6
Сравнительная характеристика случайных и детерминированных методов доступа к каналу.
-
Характеристика
Случайные методы доступа
Детерминированные методы
1. Структура ЛВС.
наиболее широко применяются (и перспективны) в шинной, непригодны для кольцевой.
наиболее широко применяются в кольцевой, шинной структурах.
2. Область применения.
непромышленная среда
промышленная среда (производство).
3. Достоинства.
простота реализации;
низкое время задержки при малых нагрузках на сеть;
обеспечение максимальной скорости доступа к каналу;
все абоненты равноправны и могут вступать на передачу в любое время
гарантирует предельно допустимое время доставки пакета;
длина передаваемого пакета больше, чем у случайных методов доступа.
4. Недостатки.
нестабильная работа при увеличении нагрузки (числа станций);
не гарантируется своевременная доставка пакета;
нельзя использовать в промышленной сфере;
требует организации сложной службы управления маркером;
методы более сложны, чем случайные методы доступа;
Последовательность шагов, которые предпринимают станции при использовании метода случайного доступа в моноканал, показана на рис 2.
станция прекра-щает передачу, короткое время ждет И...
станция "слушает" моноканал
станция передает пакет
станция закан-чивает передачу пакета
станция короткое время ждет И...
моноканал свободен? Да Нет
Одновременно
начала передачу
еще одна станция
Да Нет
Рис 2 Схема метода случайного доступа в моноканал.
В соответствии с методом станции все время "слушают" моноканал, определяя ведется ли через него передача информации какой-нибудь станцией. Как только возникает необходимость и моноканал оказывается свободным, станция начинает передачу пакетов. При этом может оказаться, что две либо более станции начали одновременно передачу пакетов. После столкновения пакетов все передающие станции прекращают передачу. После этого случайным образом выбирают время ожидания. Метод случайного доступа относительно прост. Более того, при использовании этого метода станциям не нужно получать никакого сигнала или разрешения на передачу. Это делает метод очень надежным. Однако, есть и недостатки. Главный из них заключается в том, что он не гарантирует обеспечения предельно допустимого времени доставки пакетов.
УПД на МД
АЦПУ
ЭВМ
IBM PC/AT
АЦПУ
EPSON LQ 100
ЭВМ IBM PC/AT
АЦПУ
EPSON LQ 100
ЭВМ IBM PC/AT
АЦПУ
EPSON LQ 100
ЭВМ IBM PC/AT
CANON PC - 1
ЭВМ IBM PC/AT
УПД на МД
УПД на
МД
АЦПУ
АЦПУ
EPSON LQ 100
ПЭВМ IBM PC/AT 486 DX
ПЭВМ IBM PC/AT 486 DX
система резервного питания Bask-UPS 400 VA
блок сетевого интерфейса
премно-передающая среда
моноканал
СА
ЭВМ IBM PC/AT
АЦПУ
EPSON LQ 100
АЦПУ
EPSON LQ 100
ЭВМ IBM PC/AT
ЭВМ IBM PC/AT
АЦПУ
EPSON LQ 100
УПД на
МД
ЭВМ IBM PC/AT
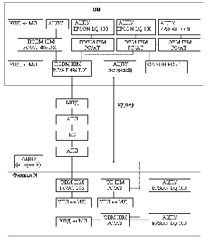
Схема 6. Структурная схема КТС системы на базе ЛВС.
3.2 Разработка ЦВК
Для децентрализованной системы.
Расчет ГЭВМ производится по формуле:
,где
Ка коэффициент увеличения производительности ЭВМ;
Рi коэффициент трудоемкости обработки, определяемый количеством машинных операций, приходящихся на один энак вводимой информации для i-той группы задач (ОП/зн);
Qi УПД на МД
АЦПУ
ЭВМ
IBM PC/AT
АЦПУ
EPSON LQ 100
ЭВМ IBM PC/AT
АЦПУ
EPSON LQ 100
ЭВМ IBM PC/AT
АЦПУ
EPSON LQ 100
ЭВМ IBM PC/AT
CANON PC - 1
ЭВМ IBM PC/AT
УПД на МД
УПД на
МД
АЦПУ
АЦПУ
EPSON LQ 100
ПЭВМ IBM PC/AT 486 DX
ПЭВМ IBM PC/AT 486 DX
система резервного питания Bask-UPS 400 VA
блок сетевого интерфейса
премно-передающая среда
моноканал
СА
ЭВМ IBM PC/AT
АЦПУ
EPSON LQ 100
АЦПУ
EPSON LQ 100
ЭВМ IBM PC/AT
ЭВМ IBM PC/AT
АЦПУ
EPSON LQ 100
УПД на
МД
ЭВМ IBM PC/AT
максимальный суточный объем входной информации в показателях i-той группы задач (зн/cут);
Vэвм среднее быстродействие ЭВМ (оп/с);
Квн коэффициент снижения выбранной Эвм из-за обращения к внешним носителям и устройствам;
Тn фонд полезного машинного времени за расчетный период (с/сут).
Ка=1,2; Pi=26*103;Qi=3,5*106; Vэвм=107; Квн=0,8; Тn=72*103.
Для обработки информации также расчитываем количество ЭВМ:
Ка=1,2; Pi=26*103;Qi=6*106; Vэвм=106; Квн=0,8; Тn=72*103.
Расчет АЦПУ: Принимаем равным количеству ЭВМ = 5 шт (1 лазерный, 4 - типа EPSON LQ 100).
Копировальная техника:
CANON PC-1.
Для ЛВС.
Расчет ГЭВМ проводим по формуле, описанной выше.
Ка=1,2; Pi=26*103;Qi=3,5*106; Vэвм=106; Квн=0,8; Тn=72*103.
Расчитываем количество ЭВМ для обработки информации:
Ка=1,2; Pi=26*103;Qi=6*106; Vэвм=106; Квн=0,8; Тn=72*103.
Расчет АЦПУ:
принимаем равным количеству ЭВМ 4 шт.
Копировальная техника:
CANON PC-1/
3.3 Выбор и расчет периферийных технических средств
Для децентрализованной системы.
Расчет количества терминалов производится по методике предложенной в книге Максименкова А.В.
Число терминалов: , где
i, 1 =< i =< n - число терминал-часов, необходимое для выполнения работ i-го вида ха период Т наиболее напряженных суток. При односменной работе Т=8ч, n - число видов работ, проводимых за терминалами. Полученную величину (Мт) округляем в большую сторону до целого числа.
,
где
Пi число запросов i -го вида, обрабатываемых за период Тi;
Тi время занятости терминала обработкой одного запроса (терминал-секунда);
Pi коэффициент загрузки (0,8 при выполнении задач ввода, редактирования данных, работы с БД; 0,7 при выполнении задач отладки программы).
i = Nтп / 3, где
N число программистов, закрепленных за данным АП; Тп длительность рабочей смены программиста (в часах).
Время: , где
время ввода с терминала среднего сообщения;
, где
средняя длина сообщения;
реальная скорость ввода данных с терминала;
время оператора, необходимое для подготовки ввода запроса в систему (= 5-10 с);
время передачи сообщения от Терминала к ЭВМ:
, где
эффективная скорость передачи по КС;
время выполнения процедуры опрос;
, где
средний объем вычислений, требуемых для обработки одного сообщения;
быстродействие ЦПУ ЭВМ;
среднее число обращений к вводу-выводу при обработке.
среднее время передачи выходных сообщений на Терминал:
, где
время выполнения процедуры выбора;
, где
реальная скорость вывода данных на терминал;
среднее время ожидания;
, где
дополнительное значение загрузки канала (=0,4);
среднее время передачи по КС одного сообщения;
Расчет: байт / секунду;
5+185+110+95+35+30 = 470 (c) 7 минут
= 4,1 часа
Мт = 5ч. / 11ч. 0,6 >= Т=1
Расчет количества ЭВМ:
Ко = 1,2; Qi = 6*106; Pi = 20*103;
Квн = 0,8; Vэвм = 106; Тп = 72 * 103.
= 2,5 3 ЭВМ типа IBM PC/ AT 286
Количество АЦПУ принимается равным количеству ЭВМ.
Расчет количества приемопередающих устройств:
, где
К коэффициент, учитывающий число приемных и передающих устройств; U скорость передачи информации; R 0,2 - 0,7 коэффициент снижения скорости передачи, зависящий от применяемого метода повышения достоверности информации; Кг коэффициент готовности устройств; t допустимое время передачи информации.
Q = 106 зн/ сутки; К=0,6; U = 2400 зн/ сутки;
R= 0,2; Кг = 0,9; t = 300 c.
Nп = 4,6 5 устройств.
Для ЛВС.
Количество Терминалов и ЭВМ аналогично.
К каждому Т подключен внешний модем для передачи информации.
3.4 Выбор оптимального варианта (по критериям эффективности)
Для ЛВС и децентрализованной системы. Расчет достоверности производится по методике.
Достоверность операций найдем по формуле:
, где
qi вероятность наличия ошибки перед операцией контроля;
i вероятность пропуска ошибки при контроле;
N количество операций;
Для ЛВС:
Qb=3*10-5*0,01+10-5*10-4*10-6+0,2*10-6*0,01+0,1*10-4*10-5+10-6+10-4*10-5+10-5*10-5+
10-10*0,08+0,2*10-6*10-5+0,4*10-7+10-5*10-5+0,5*10-6*0,01= 3,1 *10-7
(достоверность может быть увеличена за счет методов контроля до 10-8)
В децентрализованной системе используется КС менее устойчивая среда к помехам достоверность информации ниже.
Время ответа системы на запрос:
ЛВС:
Т = Туп + Тмд
, где
S среднее число машинных операций, требуемых для обработки запроса;
V быстродействие ЭВМ;
J интенсивность поступления запросов;
H среднее число операций активной фазы процесса;
K число селекторных каналов;
T время обслуживания заявок по вводу-выводу информации;
N1 число активных ТС.
Т= 11,1 + 0,02 = 11,12 (с)
Децентрализованная система:
Т = 0,31 + 12,7 = 13,01 (с)
Время ответа ЛВС меньше.
По надежности ЛВС значительно превосходит децентрализованную систему.
4. Программное обеспечение системы
4.1 Структура ПО и его основные функции
Программное обеспечение совокупность программ, позволяющий организовать решение задач на ЭВМ. ПО и архитектура ЭВМ образуют комплекс взаимосвязанных и разнообразных функциональных средств ЭВМ, оперделяющих способность решения того или иного класса задач.
По назначению ПО делится на 4 класса (рисунок 3). Системное программное обеспечение организует процесс обработки информации в ЭВМ. Главную его часть составляет операционная система (ОС). Средства контроля и диагностики обеспечивают автоматический поиск ошибок и проверку функционирования отдельных узлов ЭВМ. Система программирования позволяет разрабатывать программы на языках программирования. В нее входят трансляторы комплекс программ, обеспечивающий автоматический перевод с алгоритмических и символических языков в машинные коды.
Прикладное ПО предназначено для программ пользователей. Пакеты прикладных программ комплекс программ, предназначенных для решения определенного класса задач.
Библиотеку стандартных программ составляют часто используемые программы вычисления функций, решения уравнений, распространенных операций обработки данных (сортировка, копирование набора данных-файла и т.д).
Уникальное ПО комплекс программ, предназначенных для выполнения специализированных программ пользователя (трансляторы). По функциональному значению трансляторы делятся на: компиляторы (перевод программ на алгоритмическом языке в машинные коды без выполнения); интерпретаторы (перевод каждой конструкции алгоритмического языка в машинные коды с одновременным выполнением); ассемблер (перевод программы с языков символического кодирования в машинные коды); языковый процессор (совмещает функции компиляторов, интерпретаторов и ассемблера для специализированных языков).
4.2 Методы и средства разработки ПО
Технология программирования включает в себя написание программ на языках программирования и организацию их выполнения с использованием комплеква программно-технических средств ЭВМ. При разработке программ используется технологии 2 видов: сверху вниз разработка в начале главной программы, а затем входящих в нее составных компонентов (подпрограмм); снизу вверх разработка в начале подпрограмм (начиная с элементарных), а затем главной программы, использующей разработанные программные компоненты.
Высшее звено технологии выбор языка программирования и соответствующей программной среды (ОС). Он проводится на этапе разработки алгоритма с учетом особенностей последнего и возможностей имеющихся средств ЭВМ, а также с учетом простоты написания программы, удобства отладки, эффективности и надежности программы.
Эффективность программ определяется затрачиваемым машинным временем и требуемым объемом памяти ЭВМ.
При разработке программ необходимо помнить, что программа должна быть:
универсальной, то есть не зависимой от конкретного набора данных;
гибкой, то есть легко настраиваться на изменение параметров решаемой задачи;
мобильной, то есть легко переносимой на другие типы ЭВМ с учетом их прикладного обеспечения;
надежной, то есть имеющей средства защиты от неправильного ввода данных, неопределенных параметров и случайных сбоев.
При составлении и отладке программ целесообразно использовать в операторах языка программирование переменных; в тексте программы комментарии.
Автоматизация программирования предусматривает использование готовых программ, в частности пакетов прикладных программ и библиотек стандартных программ; дальнейшее развитие и становление создания программ для ЭВМ самой ЭВМ.
Модульное программирование независимое программирование каждого модуля. Включение модуля в основную программу проводится после его полной отладки и тестирования.
Структурное программирование процесс программирования на алгоритмическом языке с использованием определенных конструкций. При таком программировании: программа составляется на базе линейной, разветвленной или циклической алгоритмической структур и между этими структурами передача управления производится только вперед (сверху вниз в блок-схеме); использование команд безусловной передачи управления недопустимо.
4.3 ОС и средства, расширяющие ее возможности
Планировщики программы, организующие распределение ресурсов ЭВМ и связь с пользователем. Супервизор обеспечивает организацию процессов обработки программ на ЭВМ. Сервисные обслуживающие программы позволяют рационально организовать процесс обработки программ (программных модулей). Модуль функционально и конструктивно законченная программа. Редактор связей программа, формирующая единый программный модуль из нескольких модулей. Загрузчик программа, обеспечивающая размещение программных модулей в основной памяти ЭВМ. Отладчик программа, позволяющая автоматизировать процесс отладки пользовательских программ. Утилиты программы, позволяющие выполнять различные сервисные функции: перезапись (копирование) программ и файлов, вывод на печать, сортировку и упорядочение файлов и др.
Для данной АЭИС выбирается ОС MS - DOS 5.0. Как правило, персональный компьютер IBM работает под управлением операционной системы MS - DOS фирмы Mircosoft, либо ее варианта PC - DOS.
Операционная система состоит из следующих частей.
Базовая система вводы-вывода (BIOS), находящаяся в постоянной памяти (ПЗУ) компьютера. Эта часть ОС является "встроенной" в ЭВМ. Ее назначение состоит в выполнении наиболее простых и универсальных услуг ОС, связанных с осуществлением ввода-вывода. Базовая система ввода-вывода содержит также тест функционирования компьютера, проверяющий работу памяти и устройств ЭВМ при включении его электропитания. Кроме того, базовая система ввода-вывода содержит программу вызова загрузчика операционной системы.
Загрузчик ОС очень короткая программа, находящаяся в первом секторе каждой дискеты с ОС MS - DOS. Функция этой программы заключается в считывании в память еще 2 модулей ОС, которые и завершают процесс загрузки DOS. На ЖМД загрузчик ОС состоит из 2 частей, то етсь жесткий диск может быть разбит на несколько разделов (логических дисков).
Дисковые файлы IO.SYS и MSDOS.SYS (они могут называться, например, IBMBIO.COM и IBMDOS.COM). Они загружаются в память загрузчиком ОС и остаются в памяти постоянно. Файл IO.SYS представляет собой дополнение к базовой системе ввода-вывода в ПЗУ. Файл MSDOS.SYS реализует основные высокоуровневые услуги DOS.
Командный процессор DOS обрабатывает команды, вводимые пользователем. Он находится в дисковом файле COMMAND.COM на диске, с которого загружается ОС. Некоторые команды процессор выполняет сам. Для выполнения остальных (внешних) команд пользователя процессор ищет на дисках программу с соответствующим именем, и, если находит ее, то загружает в память и передает ей управление. По окончании процесса программа удаляется из памяти и выводится приглашение DOS.
5. Экономическая эффективность системы
Расчет основных экономических показателей системы (для оптимального варианта системы, основанной на ЛВС).
Производится по методике, описанной в п 1.4. данного проекта.
Приводим расчеты показателей:
Стоимость основных технических средств (в $ США).
IBM 486 DX 2 - 2000 (2шт)
IBM 286 2200 (6 шт)
Модем внешний 1000 (2 шт)
Кабель 150
Принтер 2020 (8 шт)
Копировальная техника 300
МД 50
Система резервного
питания 260
___________________________________
Итого 7900
Курс НБУ 190000 крб. за 1 доллар США. Всего 1,5 млрд крб.
Стоимость вспомогательного оборулования (10% от стоимости основных ТС): 150 млн. крб.
Всего 1,65 млрд крб.
Имеем стоимость ПО: 2 млрд крб
Расчет показателя Сэ:
заработная плата 755, ФЗП (6% олт заработной платы) 45
755 - 45 = 710*190000 = 1, 35 млрд крб
амортизация основных фондов (12%) = 180 млн крб
электроэнергия (0,5%) = 7,5 млн крб
ремонт (3%) = 45 млн крб
прочие (1%) = 15 млн крб
_________________________________
Итого Сэ = 382,5 млн крб
Кз = 1 500 000 000 (1 - 0,12*5) = 600 000 000 крб
К2 = 1 500 000 000 крб
Кивс = 1 500 000 000 + 600 000 000 + 300 000 000 = 2 400 000 000 крб
крб
крб
Экономический эффект: 612 000 000 крб от одного АРМ
Z = 539 470 000 крб
Экономический эффект от внедрения АЭИС:
5 394 700 000 крб
Срок окупаемости: года
0,5 *12 = 8 месяцев
К = 0,12
Введение АЭИС целесообразно.
Срок окупаемости:
крб в месяц
затраты составляют 3 700 000 000 крб
450 000 000 * 8 месяцев 3 700 000 000 крб 8 месяцев срок окупаемости
Выводы
В данном курсовом проекте рассмотрены 3 системы: децентрализованная с каналом связи, децентрализованная с передачей курьером и ЛВС. В результате расчетов критериев эффективности (время ответа системы на запрос, достоверности информации) можно сделать вывод, что наиболее целесообразной является ЛВС (достоверность 10-8; время ответа на запрос 11, 12 секунд).
Для оптимального варианта составлен ТП и рассчитаны показатели экономической эффективности:
экономический эффект от внедрения АЭИС 5 394 700 000 крб;
срок окупаемости 8 месяцев;
коэффициент эффективности 0,2.
Введение АЭИС на базе ЛВС целесообразно.
Для децентрализованной системы и ЛВС рассчитаны основные и периферийные ТС, приведены структурные схемы КТС.
Затраты на закупку ТС для внедрения системы на базе ЛВС составили около 2 млрд крб, на ПО 2 миллиарда крб.
Список литературы
Кривоногов Ю. А. "Справочник "Мини - и микро - ЭВМ" М. "Высшая школа", 1990
Ларионов "Вычислительные комплексы, системы и сети" М. "Финансы и статистика", 1987
Максименков "Основы проектирования ИВС и сетей ЭВМ" М. "Высшая школа", 1991
Персональные АИС и дисплейные комплексы" под ред. Четверикова В.Н. Выпуск 6. "Высшая школа", 1990
Пономарева К.В., Кузьмин Л.Г. "ИО АСУ" М. "Высшая школа", 1981
Самсонов В.С. "АСУ" М. "Высшая школа", 1991
Фигурнов В.Э. "IBM PC для пользователя" М. "Финансы и статистика", 1991
Шрайберг Я.Л., Гончаров М.В. "Справочное руководство по основам информатики и вычислительной техники" М. "Финансы и статистика", 1990
Якубайтис Э.А. "Информатика. Электроника. Сети" М. "Финансы и статистика", 1989 УПД на МД
АЦПУ
ЭВМ
IBM PC/AT
АЦПУ
EPSON LQ 100
ЭВМ IBM PC/AT
АЦПУ
EPSON LQ 100
ЭВМ IBM PC/AT
АЦПУ
EPSON LQ 100
ЭВМ IBM PC/AT
CANON PC - 1
ЭВМ IBM PC/AT
УПД на МД
УПД на
МД
АЦПУ
АЦПУ
EPSON LQ 100
ПЭВМ IBM PC/AT 486 DX
ПЭВМ IBM PC/AT 486 DX
система резервного питания Bask-UPS 400 VA
блок сетевого интерфейса
премно-передающая среда
моноканал
СА
ЭВМ IBM PC/AT
АЦПУ
EPSON LQ 100
АЦПУ
EPSON LQ 100
ЭВМ IBM PC/AT
ЭВМ IBM PC/AT
АЦПУ
EPSON LQ 100
УПД на
МД
ЭВМ IBM PC/AT
Нравится материал? Поддержи автора!
Ещё документы из категории информатика:
Чтобы скачать документ, порекомендуйте, пожалуйста, его своим друзьям в любой соц. сети.
После чего кнопка «СКАЧАТЬ» станет доступной!
Кнопочки находятся чуть ниже. Спасибо!
Кнопки:
Скачать документ